



NOTE :‘C’ DIMENSION WILL CHANGE WITH RATING OF GEAR BOX.
FACE TO FACE: AS PER IS 13095 / BS 5155 / BS EN 558 – 1 / ISO – DIS 5752 BASIC SERIES 13
FLANGE DRILLING: AS PER IS 1538 TABLE 4 & 6 / BS EN 1092-2 TABLE 8 & 9
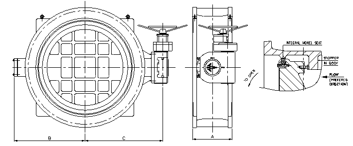
DESIGN: VALVES GENERALLY CONFORM TO IS 13095 / BS 5155 (AWWA – C 504 AND LONG BODY ON REQUEST), RANGE DEVELOPED FROM WELL ESTABLISHED BLAKEBOROUGH ‘CONESPHERE’ BUTTERFLY DESIGN WITH POSITIVE LEAK PROOF/ DROP TIGHT SHUT-OFF IN EITHER DIRECTION
STANDARD CONSTRUCTION: CAST IRON/DUCTILE IRON BODY & DISC, T- SHAPED NITRILE / EPDM RUBBER FACE RING ON DISC, S.S. STUB SHAFTS RIDING ON PTFE LINED S.S. / BRONZE BEARINGS, COMPLETE WITH WORM GEAR QUARTER TURN OPERATOR
PRESSURE RATING: PN 6 & 10 UPTO 3000mm AND PN 16 UPTO 2500mm NB
POWER OPERATION: ELECRTIC / PNEUMATIC / HYDRAULIC
INSTALLATION: ON HOIZONTAL OR VERTICAL PIPE LINE
CONSULT US FOR: VELOCITY IN EXCESS OF 4m / sec
DIFFERENTIAL PRESSURE GREATER THAN 10 BAR
APPLICATION OTHER THAN SOFT POTABLE / RAW WATER