

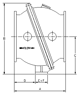
FACE TO FACE: AS PER IS 5312 PART I & II / BS EN 558 – 1 / ISO – DIS 5752 BASIC SERIES 48
FLANGE DRILLING:AS PER IS 1538 TABLE 4 & 6 / BS EN 1092 – 2 TABLE 8 & 9
STD. CONSTRUCTION:CAST IRON WITH BRONZE TRIM AND ST. STEEL HINGE PIN / TRUNNION / STUB PIN
PRESSURE RATING:PN 10 UPTO 1500mm AND PN 16 UPTO 900mm.
OPTIONAL:BYPASS ARRANGEMENT, EXTERNAL LEVER AND COUNTERWEIGHT UPTO 300mm.
NOTE:1) VALVES GENERALLY CONFORM TO IS:5312 PART I & II (OTHER STANDARDS ON REQUEST)
2)THESE VALVES ARE FOR HORIZONTAL APPLICATION WITH FLOW VELOCITY UPTO 3.5m / sec
3)FOR VERTICAL / INCLINED APPLICATION AND HIGHER VELOCITY, PLEASE CONSULT US>
4)SINGLE DOOR TILTING DISC CHECK VALVE (VELOCITY 1.5 TO 5m / sec) CAN BE GIVEN FOR SIZES 500 TO 1200 N.B.
5) FOR ARDUOUS DUTY AND PRESSURE ABOVE 10 BAR, VALVES IN CARBON STEEL / S G IRON, (DUCTILE IRON) CONSTRUCTION CAN BE GIVEN.
6) FOR SUFFICIENT BATCH QUANTITY VALVES TO BS 5153 CAN BE GIVEN.
7) ALTERNATE LENGTH (LOF) CAN BE SUPPLIED FOR REPLACEMENT.